Shakespeare in Performance: Collection Member

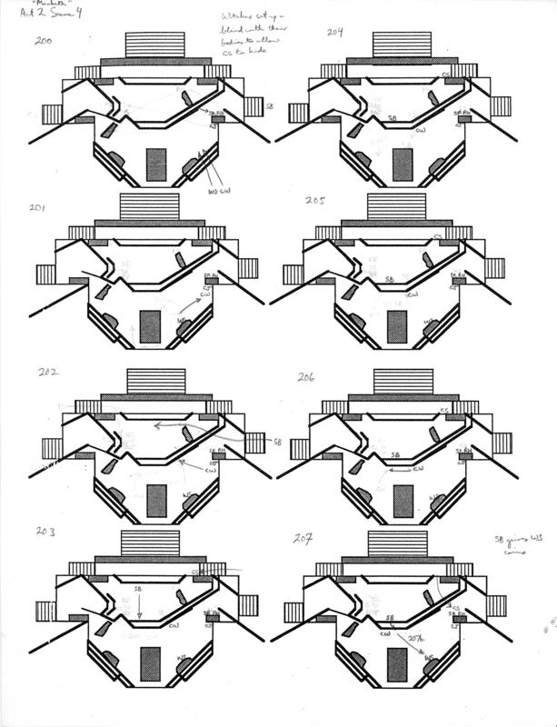
| Image name | Blocking Notes: page 57 |
|---|---|
| Media type | image |
| Collections | |
| Rights | Artifact © Bard on the Beach [web site] |
| Artifact id | 14516 |

| Image name | Blocking Notes: page 57 |
|---|---|
| Media type | image |
| Collections | |
| Rights | Artifact © Bard on the Beach [web site] |
| Artifact id | 14516 |